Приветствую Вас Гость | RSS
Меню сайтаКатегории раздела
СтатистикаОнлайн всего: 1 Гостей: 1 Пользователей: 0 |
Главная » Фотоальбом » Мои фотографии » Способ обработки заготовок давлением и ударное устройств...
Способ обработки заготовок давлением и ударное устройств...
Способ обработки заготовок давлением и ударное устройство с электромагнитным приводом для его осуществления. Патент РФ 2071910
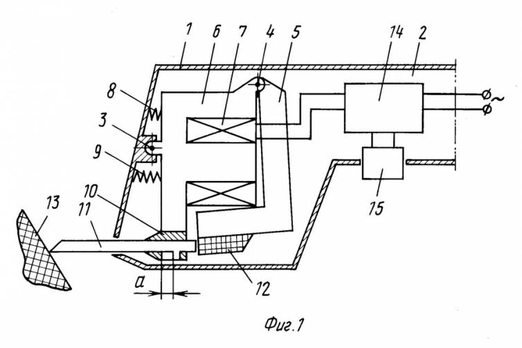
Способ обработки заготовок давлением и ударное устройство с электромагнитны... 900x600 www.FindPatent.ru Способ обработки заготовок давлением и ударное устройство с электромагнитным приводом для его осуществления Ми будемо вам дуже вдячні, якщо ви поставите "плюс один" в Google+ для української версії. Способ обработки заготовок давлением и ударное устройство с электромагнитным приводом для его осуществления (RU 2071910): Использование: в области обработки металлов давлением при осуществлении формоизменяющих и разделительных операций штамповки, клепке, дроблении и т. д. Сущность изобретений: на заготовку воздействуют рабочим инструментом, перемещаемым в пространстве с возрастающей скоростью от импульсного источника энергии. Предварительно регулируют величину рабочего хода инструмента для обеспечения его скорости в момент соприкосновения с заготовкой, в 1,5-2 раза превышающей скорость деформации материала последней. Ударное устройство, реализующее способ, содержит электромагнитный двигатель в виде тяговой катушки с магнитопроводом и якорем, рабочий инструмент, механизм его возврата и демпфирования излишков кинетической энергии и регулятор величины рабочего хода инструмента. Инструмент жестко соединен с якорем. Механизм возврата и демпфирования выполнен в виде пружин и связанных с ними штырей, расположенных в гнездах якоря. Пружины имеют разную жесткость, а штыри - разную длину. Пружина меньшей жесткости связана с направляющим штырем, длина которого соответствует максимальному рабочему ходу инструмента. Пружина меньшей жесткости связана со штырем, длина которого соответствует максимальной толщине заготовки. � егулятор величины рабочего хода, который может быть выполнен в виде винтов, контактирует с пружинами. 2 с. и 1 з.п.ф-лы, 2 ил. Изобретение относится к области обработки металлов давлением и могут быть использованы в машиностроении при изготовлении деталей из металлических заготовок. Известен способ обработки заготовок давлением, включающий воздействие на заготовку рабочим инструментом, перемещаемым в пространстве с возрастающей скоростью от импульсного источника энергии [1] Известно ударное устройство с электромагнитным приводом для обработки заготовок давлением, содержащее электромагнитный двигатель в виде тяговой катушки с магнитопроводом и якорем, рабочий инструмент и механизм возврата и демпфирования излишков кинетической энергии в виде пружин и связанных с ними направляющих штырей [1] Описанные выше способ и устройство для его осуществления имеют ряд существенных недостатков, снижающих эффект быстродействия, т.е. сдвигающих характеристику взаимодействия рабочего инструмента с деталью от чисто динамического воздействия к ударно-нажимному. Происходит это в силу потери части кинетической энергии бойка и скорости его перемещения при ударе его о рабочий инструмент, вследствие чего взаимодействие рабочего инструмента с заготовкой происходит с незначительной скоростью, которая при дальнейшем перемещении бойка еще несколько возрастает, затем резко с0�ижается сопротивлением материала, т.е. теми усилиями деформации, которые возникает в теле заготовки. Кроме того, скорость бойка в определенной мере гасится усилиями сопротивления возвратных пружин, что увеличивает энергоемкость устройства. К недостаткам известной конструкции относится отсутствие возможности регулировать величины кинематической энергии рабочего инструмента, изменять его скорость перемещения и скорость, с которой первоначально происходит взаимодействие рабочего инструмента с обрабатываемой деталью. Технической задачей, на решение которой направлены заявленные изобретения, является создание способа, позволяющего при низкой энергоемкости использовать вырабатываемую энергию без потерь для широкого диапазона технологических операций, таких как пробивка отверстий, штамповка, вырубка, дробление и др. а также создание простой по конструкции высокопроизводительной установки, которую можно использовать в автоматической линии и индивидуально, т.е. в условиях ремонтной мастерской с небольшим парком оборудования. Поставленная задача решается тем, что в известном способе обработки заготовок давлением, включающем воздействие на заготовку рабочим инструментом, перемещаемым в пространстве с возрастающей скоростью от импульсного источника энергии, предварительно регулируют величину рабочего хода инструмента путем сжатия взаимодействующих с ним упругих элементов с обеспечением скорости инструмента в момент его сопротивления с заготовкой, в 1,5-2 раза превышающей скорость деформации материала заготовки. Кроме того, известное ударное устройство с электромагнитным приводом для обработки заготовок давлением, содержащее электромагнитный двигатель в виде тяговой катушки с магнитопроводом и якорем, рабочий инструмент и механизм возврата и демпфирования излишков кинематической энергии в виде пружин и связанных с ними направляющих штырей, |
Вход на сайтПоискДрузья сайта |